Automatic Pallet Changer help

Hello,i have an urgent project to make for university and i hit a wall
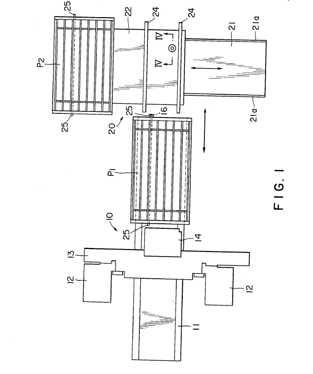
i need to make in catia something similar to the picture
The bottom machine is a plano miller,and the upper one is an automatic pallet changer
I cant seem to find something similar to the pallet changer,and i dont have the time to actually make it myself in catia(i`m not very good at catia tbh)
It doesnt need to be functional,it just has to look similar so i can adapt it to my project
Anyone can help me find something similar please? THANKS A TON in advance