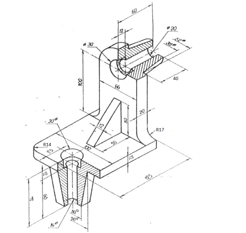
Catia V5 issues

Had some issues doing the R17 fillets can anyone help in that not sure how to do it.
and also the 2 cones.

2 Answers

What have you done so far? What are the issues/errors you have?

The R17 fillets should be easy to add as Edge Fillets.

Each cone can be made as a revolved Shaft. The counterbored holes in the cones can be added near the end of the model as revolved Grooves.

The attached drawing is not too good, and a little confusing

I added a tutorial to show you how I would make this part. Hope it helps you and solves the issues.

https://grabcad.com/tutorials/part-with-2-cones