how to set block center reference in hole table in solid works?

how to set block center reference in hole table in solid works?

Help me which is so useful to me

2 Answers

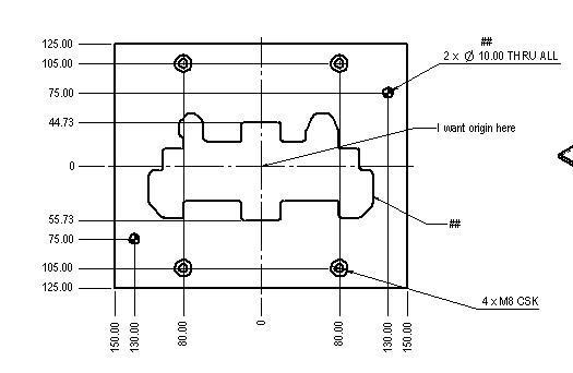
I don't think you can.
The X,Y references have to be a model edge. Not a sketch, axis, plane, point, vertex, or anything else that would be helpful.

But, you can trick the software. In the attached example, I did the following:
- Made a new configuration of the part
- On the backside of the model I used a Split Curve to bisect the model face
- In the drawing I set the view to use the new split configuration.
- Also in the drawing, set the view to show hidden edges.
- Make the table, and use those hidden, split edges as the X,Y references.
- Set the view back to use hidden lines removed.
- For other drawing views, make use of the default configuration.

Yup, sort of a pain in the ass, but that was the only way I got it to work so far.

I always use a drill works every time on my tables at home (mind you they do look like Swiss cheese now (: )