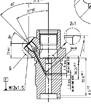
How to create inclined plane in NX?

I want to create that inclined boss in the below drawing. Please help me.

4 Answers

If you use 3D model in menu enter in "start" - modeling, after in menu - insert - datum/point - datum plane, open a box with many variable to insert your inclinated plan. See image in attached for NX8

Answered with a tutorial: https://grabcad.com/tutorials/how-to-create-inclined-plane-in-nx--1

Hello, you need inform if you use 2D or 3D model and the version NX

Hi, Monique de Wilt. See this. I want to create that inclined boss which is marked in the below drawing.